Терморегулирующий клапан ТРК предназначается для регулирования температуры в охладительных системах шкафов электрооборудования, системах вентиляции и кондиционирования, в циркуляционном трубопроводе систем ГВС для ограничения подачи воды и др.
В основе работы клапана лежит принцип расширения термочувствительного материала, благодаря чему клапан обеспечивает пропорциональное регулирование.
Изменить температуру регулирования возможно только путем замены датчика температуры с твердым наполнителем на необходимое значение фиксированной настройки.
Возможна реализация схемы на смешение или разделение потоков сред при использовании трехходовых регуляторов.
Технические характеристики ТРК
|
Характеристики |
Значения |
|
Полное наименование |
ТРК клапан терморегулирующий |
|
Значение фиксированной настройки, °С |
35, 45, 50, 55, 60, 65, 70, 75, 80, 85, 90, 95 |
|
Номинальный ход клапана, мм |
6 |
|
Условная пропускная способность, м3/ч |
12 |
|
Зона нечувствительности термоклапана, °С, не более |
3 |
|
Зона пропорциональности, °С, не более |
10 |
|
Постоянная времени термоклапана, с, не более |
100 |
|
Относительная нерегулируемая протечка термоклапана "на холодильник" при перепаде давления на нем 0,1 МПа, %, не более |
1 |
|
Термоклапан выдерживает температуру регулируемой среды, превышающей значение фиксированной настройки на 25 °С в течении, мин. |
10 |
По устойчивости к воздействию климатических факторов внешней среды термоклапаны при эксплуатации должны соответствовать исполнению «Д2» по ГОСТ 12997, но для работы при температуре окружающей среды от -50 °С до +75 °С.
Обозначение клапана ТРК при заказе
Пример обозначения термоклапана при его заказе: «Клапан терморегулирующий ТРК-65, 421881, СНИЦ.423.117.016 ТУ».
При необходимости замены датчиков, датчики можно заказать отдельно.
Пример записи обозначения датчика исполнения 6 с температурой фиксированной настройки 65 °С при его заказе: «Датчик температуры ТД6М-65 ТУ 25-7617.0001-91».
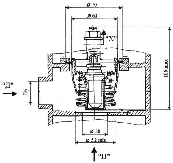
Чертеж клапана ТРК

Документация для ТРК клапан терморегулирующий
> ТРК клапан терморегулирующий. Руководство по эксплуатации (.pdf)